По запросу
Нашли дешевле?
Под заказ
Наши менеджеры обязательно свяжутся с вами и уточнят условия заказа
Описание
Технические характеристики
Без защиты двигателя| Модель | Напряжение, В | Рабочий ток, А | Степень защиты | Размеры ШхВхД, мм | Вес, кг |
| R-E-2G | 230 | 2 | IP 54 | 166*230*118 | 2,2 |
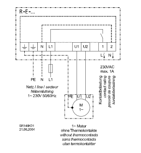
Схема подключения

